WhoshouldIsee Tracks
Skip to main content
 

Fast, reliable delivery

Bespoke Steel Solutions

Over 30 years industry experience

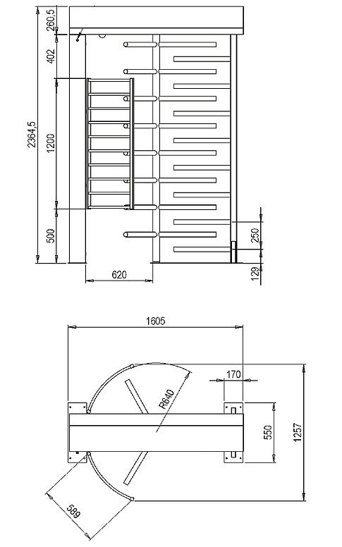
Stainless Full Height Entry Turnstile

Product Code: KF-PDK


Product Details

The KF-PDK Full Height Entry Turnstile PDK is completely made of 304 Grade stainless steel.

With minimal force on the main barrier the unit will progress to the next basic position, allowing the operator through.

The speed is regulated by the operator.

Once the operator is through the turnstile is blocked again, released after an adjustable length of time.

Note: All our Full Height Entry Turnstile are manufactured individually to meet our customers individual specifications – Please contact us with your requirements.

Click here to see the full specification KF-PDK

    • View our full range of high quality stainless steel

Turnstiles

    .
    Please contact the office for more information or simply click enquire on the product to send a direct email to our sales team.
    Can’t find what you are looking for? We can build it Bespoke!
    We manufacture bespoke solutions so should you see something that is similar or have an idea in mind please contact the sales team who will be happy to help.

Additional Information